Une nouvelle fonctionnalité intéressante pour les verres correcteurs est détaillée dans un récent brevet de Sony, suggérant que l’entreprise explore un tout nouveau casque VR. Cette fonctionnalité nécessiterait un matériel que le PlayStation VR2, la dernière génération de casques VR de Sony, ne prend pas actuellement en charge.
Après son lancement le 22 février 2023, les ventes du PlayStation VR2 ont connu une baisse, suscitant des spéculations sur l’intention de Sony de réduire ses initiatives de développement VR. Beaucoup ont souligné le prix de lancement de 599,99 € du casque et le manque de titres propriétaires et tiers attrayants au cours de sa première année comme raisons de ses ventes décevantes.
Un rapport Bloomberg de mars 2024 indiquait que Sony cessait la production du PlayStation VR2, près d’un an après son lancement, un choix fait en raison de l’intérêt tiède des joueurs, ce qui a entraîné un excédent important de stocks invendus. Néanmoins, ces derniers mois, le casque VR a connu un renouveau, porté par des remises substantielles et l’introduction de l’adaptateur PC officiel de PlayStation pour le PlayStation VR2.
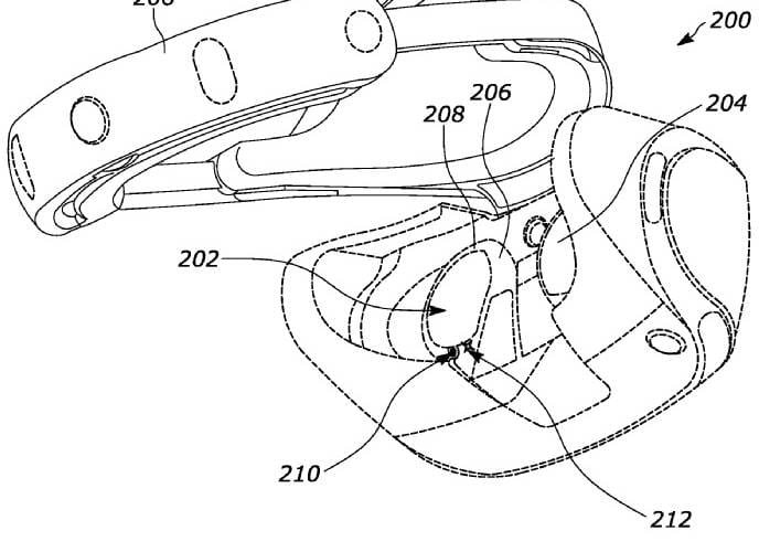
Un brevet récent de Sony révèle la création d’un système conçu pour détecter les verres correcteurs intégrés dans un nouveau casque VR. Ce brevet, qui a été déposé le 4 mars 2023, est devenu public le 5 septembre 2024, soit un an et demi plus tard. L’objectif principal de ce système est de minimiser l’encombrement et le poids associés à l’utilisation à la fois de lunettes de correction de la vue et d’un casque VR, comme le PlayStation VR2.
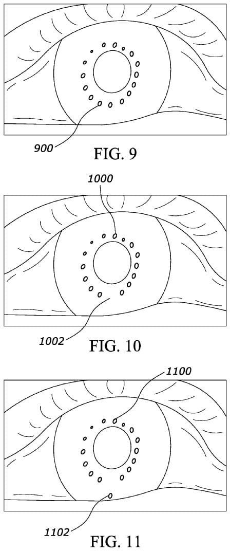
Pour améliorer le confort et la commodité, les utilisateurs pourront placer les verres correcteurs directement dans les prises du casque monté sur la tête (HMD), plutôt que de s’appuyer sur des lunettes conventionnelles. De plus, des fonctionnalités telles que le suivi oculaire et le rendu fovéal continueront d’être prises en charge par ce nouveau casque VR, car le HMD exécute bon nombre des mêmes fonctions que le PlayStation VR2.
Il est important de souligner que le casque décrit dans le brevet n’est pas le PlayStation VR2, étant donné que le casque VR existant de Sony ne dispose pas d’un port pour verres correcteurs interchangeables. Ce brevet pourrait décrire une caractéristique d’une toute nouvelle itération du PlayStation VR2 conçue pour tirer parti de son récent succès de l’été, ou il pourrait indiquer un casque VR de nouvelle génération que Sony développe et étudie actuellement.
Bien que la première année du PlayStation VR2 ait été décevante, le brevet offre aux fans l’assurance que Sony continue de s’efforcer d’innover dans le domaine de la réalité virtuelle. Bien que le matériel et les fonctionnalités décrits dans les brevets ne soient pas garantis, ils peuvent indiquer que les passionnés de PlayStation peuvent s’attendre à d’autres appareils VR à l’avenir.







