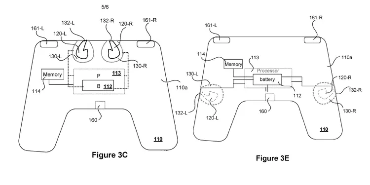
Sony a déposé un brevet pour une nouvelle manette PS5 qui comprend deux compartiments pour le rangement des écouteurs. En plus de simplement offrir du rangement, ces compartiments permettront également aux utilisateurs de coupler et de synchroniser leurs écouteurs sans fil via le contrôleur. Le brevet comprend des images représentant les emplacements pour écouteurs à différents emplacements sur le contrôleur DualSense, y compris à l’arrière et sur les côtés, ce qui indique que la disposition exacte de ce nouveau contrôleur PlayStation 5 était encore en cours de perfectionnement au moment du dépôt du brevet.
Il y a quelques jours à peine, Sony a annoncé les InZone Buds, des écouteurs sans fil axés sur les jeux avec un son spatial à 360° qui coûtent la somme énorme de 199 € . Ce n’est pas le seul casque sans fil que le géant de la technologie lancera dans les mois à venir, avec le casque Pulse Explore révélé aux côtés du prochain PlayStation portal dans un article sur le blog PlayStation en août de cette année.
Avec deux paires d’écouteurs sans fil en préparation, il est facile de comprendre pourquoi Sony pourrait chercher à intégrer ces options audio dans l’écosystème PlayStation actuel. Cependant, il reste à voir s’il y aura une forte demande pour une manette conçue pour stocker et recharger des écouteurs sans fil, d’autant plus que le Pulse Explore et les InZone Buds sont livrés avec leurs propres étuis de chargement.
Il convient également de noter que le fait que Sony ait breveté un nouveau contrôleur PS5 doté d’un emplacement de stockage pour casque ne signifie pas nécessairement que la société travaille activement sur le projet. Après tout, des entreprises comme Sony brevetent souvent des technologies qui ne voient jamais le jour. Cependant, étant donné la sortie imminente des Pulse Explore et des InZone Buds, il ne serait pas surprenant qu’un nouveau contrôleur DualSense soit bientôt disponible.
Ce n’est pas le seul brevet lié aux contrôleurs que Sony a déposé ces dernières années – loin de là, en fait. Le mois dernier, un brevet a été révélé qui semblait montrer un écran tactile amovible pour la DualSense, Dans ce contexte, il est probable que cette nouvelle manette PS5 soit annoncée dès que possible.




